燃点网3月20日电 近日,佳兆业集团(深圳)有限公司(下称佳兆业)新增2条被执行人信息,执行标的合计4.1亿余元。


中国执行信息公开网显示,执行法院分别是海安市人民法院、成都市温江区人民法院,立案时间分别是3月18日、3月19日,执行标的分别是416781726、454932。
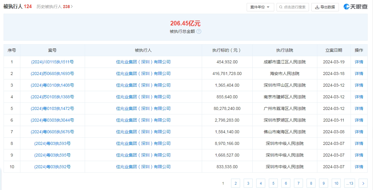
天眼查APP显示,佳兆业集团(深圳)有限公司现存124条被执行人信息,被执行总金额超206亿元。此外还存在多条限制消费令、失信被执行人(老赖)和终本案件信息。

另据港股上市公司佳兆业集团控股有限公司(简称佳兆业集团)2022年年报显示,佳兆业集团(深圳)有限公司为佳兆业集团百分百控股企业,成立于1999年6月,主要业务为物业开发。























